Замена обратноточного глушителя на прямоточный своими руками
При изготовлении прямотока целесообразно применить положительные свойства конструкций нескольких типов.
Причины замены стандартного глушителя на прямоточный
Владельцы автомобилей меняют заводской глушитель на прямоток по нескольким причинам:
- получение прибавки мощности двигателя;
- субъективное улучшение акустических параметров выхлопа;
- повышение эстетических параметров автомобиля;
- полная модернизация выпускного канала;
- установленный глушитель вышел из строя.
Инструменты и материалы для работы
Прямоточный глушитель часто покупают, но для любителей инструментов и неуёмной жажды творчества рекомендуем изготовить его своими руками. Детали предпочтительнее выполнить из нержавеющей стали толщиной 0,8–2,0 мм. Заготовки из чёрного металла подбирайте толщиной для корпуса 1,0–1,5 мм, остальные 2,0–4,0 мм, чтобы избежать преждевременного прогара деталей, а также используют заготовки из стандартного. Для корпуса применяют подходящие по размеру: огнетушитель, термос, пустой газовый или баллон акваланга.
Для набивки камеры глушителя применяют негорючий пористый материал или их комбинацию:
- базальтовую или другую минеральную вату;
- мелкоячеистую металлическую сетку;
- металлические сеточки для кухни;
- металлическую стружку.
Инструменты:
- шлифовально-угловая машинка (болгарка);
- дрель или сверлильный станок;
- сварочный аппарат;
- расходные материалы: диски по металлу для болгарки, свёрла, электроды и пр.
Переделка старого глушителя
Старый глушитель демонтируем, разбираем с помощью болгарки, оставляем детали корпуса и входной патрубок. При сохранении перегородок сверлим в них отверстия для прохода выхлопных газов. Камеры дополнительно снижают громкость выхлопа.
из старого глушителя вырезаем всё, что не нужно
Перфорируем внутреннюю трубу доступным способом. Диаметр перфорированной трубы равен диаметру входного патрубка или больше до 30%.
небольшое количество мелких отверстий поможет сохранить при выхлопе сочный басистый гул от мотора
Учитывайте, что через большие отверстия и пазы из камеры быстрее будут «выдуваться» волокна минеральной ваты.
нержавеющая сталь помогает увеличить срок эксплуатации деталей и механизмов в несколько раз
В дальнейшем диаметр внутренней трубы возможно уменьшить путём несложных манипуляций, а увеличить — несоизмеримо сложнее.
длину трубы отрезаем в нужный размер
Надеваем на место перфорации трубы металлические сеточки для кухни.
внутреннюю перфорацию перекрываем мелкопористым негорючим материалом
Плотно обкручиваем кухонные сеточки металлической сеткой в 1–3 слоя. Сетку фиксируем отожжённой стальной проволокой с множественной перекруткой или обжимаем несколькими хомутами.
усиливаем перфорацию, снижая её проницаемость для минеральной ваты
Согласуем и зачищаем места сварки, привариваем перфорированную трубу на штатное место.
сварку проводим с соблюдением всех правил безопасности
Все свободное пространство внутри глушителя плотно заполняем выбранным наполнителем.
наличие нескольких камер способствует большей функциональности глушителя
Работа с минеральной ватой требует индивидуальных средств защиты.
отсутствие металлической сетки между отверстиями и ватой приведёт к более быстрому «выдуванию» ваты из глушителя
- Прихватываем край «крышки» корпуса двумя-тремя прихватками, чтобы избежать смещения и завариваем корпус.
- Для защиты от коррозии и придания эстетического вида красим термостойкой краской в любимый цвет.
- Монтируем на автомобиль. Заводим двигатель. Радуемся!
- Чтобы глушитель служил дольше, в корпусе сверлим одно или несколько отверстий диаметром 1,5–2,0 мм для оттока конденсата. Для определения нижней точки автомобиль должен стоять горизонтально.
Замена

Если вы поняли, что глушитель уже отработал свое и нуждается в замене, обязательно проведите ряд подготовительных мероприятий.
Обратив внимание на появившиеся признаки поломки, проверьте, что именно это за неисправность и где она возникла.
Приобретите новое устройство на замену старому. Обязательно убедитесь в магазине, что вы купили подлинный товар, а не подделку.
Купите новые подушки крепления, выполненные из резины
Пусть даже старые находятся в удовлетворительном состоянии. Под действием температуры и выхлопных газов, резиновые подушки быстро теряют свои характеристики. Потому не стоит рисковать.
Дополнительно купите кольцо из металлографита. Его монтируют на месте, где соединяется труба глушителя, непосредственно под хомут. Это делается с целью обеспечению лучшей герметичности.
Наличие полноценного ремокомплекта — очень полезная вещь.
Подготовка завершена, потому можно приступать к демонтажу старого и установке нового:
- Поставьте автомобиль на яму;
- Подготовьте к демонтажу хомут, который соединяет резонатор и трубу глушителя. Чтобы это сделать, два болта крепления зачищаются металлической щеткой, а гайки обрабатываются всемогущим средством WD40. Если его нет, возьмите тормозную жидкость или средство, которым удаляют ржавчину. Это проблемное место, из-за которого возникают сложности со снятием;
- Двумя ключами на 13 демонтируйте две гайки, которые держат хомут;
- Если же все проведенные манипуляции не дали результата, крепежи придется срезать болгаркой. Это не сложно. Хомут замените на новый, конечно же;
- Демонтировав хомут, достаньте уплотнительное кольцо, выполненное из металла;
- Отсоедините трубу глушителя от резонатора;
- Теперь можно легко снять сам глушитель;
- Монтаж нового элемента выхлопной системы выполняется в обратной последовательности;
- Кольцо прокладки обязательно обработайте смазкой. Причем это должен быть специальный герметик для выхлопных газов. Так герметичность соединения окажется на максимально уровне.
Материал
Из какого материала изготавливается глушитель задний ВАЗ-2114? В стандарте его делают из листового металла. Технология очень старая и имеет ряд недостатков. В первую очередь это низкая стойкость к коррозии. В связи с этим производители покрывают металл краской с алюминиевым напылением. Но как показывает практика, это неэффективно.
Что касается нештатных глушителей (это прямотоки), они делаются из нержавейки. Это более дорогой, но очень стойкий к коррозии материал. Как показывает практика, нержавейка отлично «переваривает» нашу дорожную соль и зимы. Единственное, со временем на нее налипает битум и прочие «радости» российских дорог. Нержавеющий глушитель, на ВАЗ-2114 установленный, прослужит очень долго. Но беда в том, что из такого материала делают только спортивные прямотоки. Они отличаются высоким шумом работы, поскольку не имеют каких-либо перегородок. Конструкция предусматривает наличие прямой перфорированной трубы, с обратной стороны которой запрессована стекловата. Ввиду этого газы вырываются напрямую в атмосферу. Да, мотору станет легче «дышать», но звуки никак не нивелируются. Стало быть, для комфортной езды прямоток не подходит.
Единственный выход — установка насадки на глушитель ВАЗ-2114. Это заметно улучшит внешний вид автомобиля.
Виды глушителей и их отличия
Насчитывают 4 типа глушителей по способу поглощения акустических волн:
- отражательные;
- ограничительные;
- поглотительные;
- резонаторные.
По конструкции:
- прямоточные;
- обратноточные.
Схема отражательного обратноточная, остальных — прямоточная.
Отражательные
Если в автомобиле устанавливают один глушитель, то используют отражательный вариант. В нём применяют принцип «ломания» потока выхлопных газов за счёт создания нескольких перегородок, камер расширения и поворотов. Громкость выхлопа снижена до нормативных показателей. По этой причине подавляющее большинство заводских автомобилей оснащают отражательным типом.
самый популярный для заводской конфигурации автомобиля
Недостаток такого вида глушителя — снижение мощности двигателя из-за сопротивления системы выпуска потоку отработавших газов.
Резонаторные
На систему выпуска мощных двигателей в качестве первой ступени устанавливают резонаторный глушитель. Он состоит из перфорированной трубы, помещённой в корпус. Корпус делится на две или три секции. Энергия отработавших газов ослабляется за счёт ступенчатого понижения давления.
устанавливается как первая ступень гашения энергии выхлопа
Деталь снижает силу звуковых колебаний и сохраняет мощность двигателя при свободном течении потока выхлопных газов.
Ограничительные
В ограничительных глушителях поток газов проходит через диафрагму или конусное сужение, что приводит к снижению мощности мотора. Акустическая защита таких устройств невысока, так как диафрагма не препятствует прямолинейному движению звуковой волны.
Поглотительные
Гасящую функцию для звуковых колебаний в поглотительном глушителе выполняет мелкопористый негорючий материал, расположенный в пространстве между перфорированной трубой и корпусом. Конструкция похожа на резонаторный тип. На снижение мощности этот тип влияет незначительно.
Глушитель — назначение, устройство, работа
Важный элемент выпускной системы — глушитель, эксплуатация автомобиля без него невозможна. Как правило, глушитель находится в задней части транспортного средства и, в совокупности с выхлопной системой, служит отводом вредных газов из двигателя, минуя салон автомобиля.
Автомобильные глушители производятся из нержавеющей, алюминированной и обычной чёрной стали. «Глушаки» из нержавейки практически отсутствуют в продаже из-за высокой стоимости и длительного срока эксплуатации (срок их службы 10–15 лет). Алюминированные глушители устанавливаются на ВАЗ 2114/2115. Они распространены на отечественном и европейском рынке (срок службы 3–7 лет). Глушители из обычной чёрной стали являются дешёвыми заменителями и служат всего несколько месяцев, поэтому используются редко.
Для чего нужен «глушак»
Основные функции глушителя:
- уменьшение шума при отработке топлива;
- снижение скорости выброса газов, их температуры.

Глушитель крепится специальными резиновыми подушками за выгнутые металлические крюки, смягчая колебания от автомобильного выхлопа
Все элементы выпускной системы подвергаются высоким температурам, поэтому покрытие (антикоррозийная краска, мастика), которое наносится на глушитель, выгорает. Выхлопная система ВАЗ 2114/2115 монтируется под кузовом на днище автомобиля.
Резонатор — важная часть выхлопной системы, он непосредственно влияет на мощность двигателя. Чем быстрее выводится отработавший газ из резонатора, тем быстрее и больше развивается мощность автомобиля.

Конструкция трубы состоит из всех необходимых элементов, поэтому при выводе, отработавший газ правильно распределяется по всей выхлопной магистрали
Глушитель на ВАЗ 2114/2115 крепится к днищу автомобиля специальными резинками, цепляясь за плоские крюки сбоку и сверху. Почему используется резинка, а, допустим, не металлическое крепление?
У ВАЗ 2114/2115, глушитель — это объёмная герметичная металлическая камера, разделённая внутри различными перегородками. Весь поток отработанного газа проходит через секции глушителя, окончательно гасится и очищается. Если рассмотреть схему глушителя, то на всех автомобилях она будет выглядеть почти одинаково.

Принцип вывода выхлопных газов из глушителя автомобиля
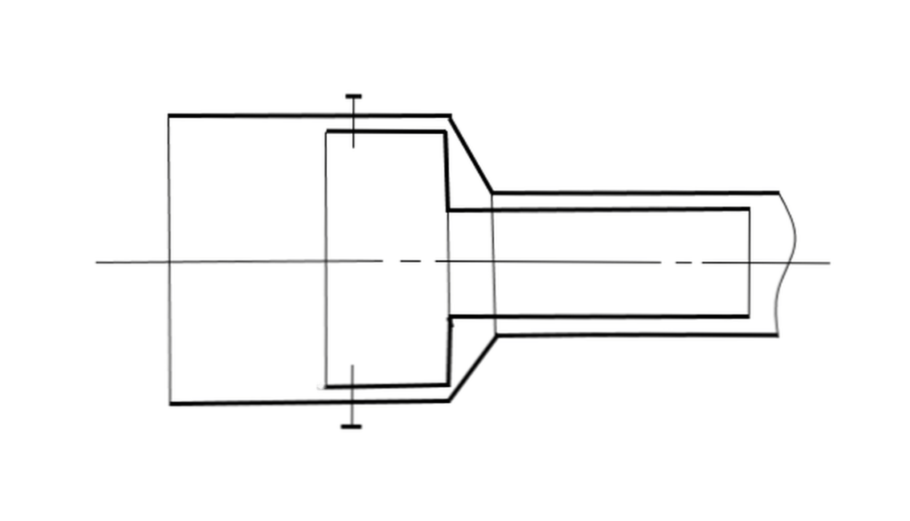
Изготовление и установка флейты
Флейта (сайленсер) обладает более предпочтительными характеристиками. Она заглушает просвет выхлопной трубы гораздо меньше, чем заслонка. Флейту можно купить, зная внутренний диаметр выпускного патрубка, или изготовить своими руками. Различные конструкции сайленсера показаны на фото.
заводские модели
Варианты монтажа флейты
Возможные варианты исполнения флейты.
Внешнее — для диаметров выпускного патрубка до 50–60 мм.
способ крепления флейты на выхлопную трубу небольшого диаметра
Внутреннее — для больших диаметров. Диаметр меньшей трубы должен быть на 15–40% меньше диаметра выходного патрубка, длина — от 0,25–0,35 м до 0,50–0,75 м. В ней, как правило, выполняются разгрузочные отверстия.
флейта правильной конструкции «помогает» ездить тише
Для улучшения звукоизоляции выхлопа возможен вариант обмотки флейты минеральной ватой. Защищаем её от выдувания по периметру мелкой металлической сеткой, как делали на прямоточном глушителе. Потеря мощности двигателя в этом случае будет более ощутимой, но двигатель будет работать стабильней, чем с закрытой заслонкой.
звук становится «приятней» для ушей автоинспектора
Инструменты и материалы для изготовления флейты
Необходимые инструменты:
- болгарка;
- электродрель;
- аппарат для сварки;
- гаечные ключи.
Заготовки правильнее выбрать из нержавеющей стали толщиной 0,8–1,2 мм, что гарантирует длительность эксплуатации. Заготовки из «чёрных» металлов допустимы толщиной 2,0–2,5 мм или меньше, если планируем кратковременные периоды эксплуатации флейты. В качестве заготовок используем два обрезка трубы и листовой металл для фланца.
Изготовление флейты своими руками
Порядок выполняемых работ:
- Подгоняем все детали в требуемые размеры. Размеры фланца и большей трубы вымеряем «по месту».
- Сверлим отверстия.
просечка делит выхлоп газов на два потока, что уменьшает громкость выхлопа
Для дополнительной разгрузки системы выпуска от избыточного давления отработавших газов сверлят отверстия во фланце.
дополнительные отверстия способствуют более свободному выхлопу
- Зачищаем, готовим к сварке.
- Самостоятельно или с помощью сварщика свариваем детали, проводим зачистку швов.
поток выхлопных газов глушится за счёт разгрузочных отверстий и противохода
Для защиты от коррозии красим флейту термостойкой краской.
нержавейку красить нет необходимости
Монтируем флейту на выхлопной патрубок и наслаждаемся звуком.
Причины выхода детали из строя
На глушитель воздействует несколько различных факторов, которые могут привести к поломке, это:
- Атмосферные осадки, грязь. Под атмосферными осадками подразумевается выпадание дождя, снега. Масса, периодически попадающая на раскалённую трубу, вызывает перепады температуры, разрушая прочность металла. К сожалению, защитить глушитель каким-либо образом не получится, влага в любом случае окажет воздействие на металл. Разумным решением будет избежание езды по глубоким лужам и медленное движение по загрязнённым участкам дороги. Если глушитель и труба загрязнились, необходимо произвести очистку водой (можно из шланга напорной струёй). После очистки рекомендуется запустить двигатель, чтобы вода, попавшая в глушитель, испарилась.
- Конденсат. При длительной холостой работе агрегата в глушителе образуется конденсат, вызывающий коррозийный процесс. Это ведёт к неизбежному разрушению внутренних частей глушителя. Происходит это крайне редко, но, перед поездкой рекомендуется увеличивать рабочие обороты, несколько раз нажав на акселератор. Потоком выходящих газов влага выводится из глушака.
- Химическое влияние. В результате выброса отработавшего газа на стенках глушителя оседает множество ядовитых химических частиц, разрушающих металл, попадание дорожных реагентов на глушитель.
- Физическое влияние. Попадание камней, удары глушителя при езде по дорогам также ведут к множеству повреждений.
Химическое и физическое влияние на металл глушителя — естественный процесс
Разобрать и почистить глушитель не удастся, так как ёмкость не вскрываемая, а оградить от ударов и камней поможет только внимание и профессионализм водителя на дороге. Диагностика и устранение мелких повреждений на начальном этапе поможет избежать серьёзных проблем в дальнейшем

Влияние различных негативных факторов может привести к повреждениям гофры или других частей глушителя
Посторонние звуки в «глушаке»
Причинами различных шумов и стуков в глушителе могут быть:
- Крепление глушителя на проволоку или стяжки. Не следует приматывать глушитель на проволоку, иначе дребезжание и стук будут обеспечены. Использовать только резиновые подушки.
- Попадание посторонних предметов через выхлопную трубу. При езде по пересечённой местности, глубоким лужам, езде задним ходом, не следует забывать, что выхлопная труба находится буквально в 20 см. от дорожного покрытия, а значит, возможен заброс различной массы и камней внутрь глушителя. Именно они нередко стучат и гремят.
- Отслоение обгоревшего металла внутри глушителя. В результате химического воздействия на стенках глушака образуется слой нагара. По этой причине, с годами, внутри глушителя можно услышать дребезжание из-за отслоившегося металла.
- Конденсат также влияет на звук выхлопа. Конденсат образуется в результате длительной работы на холостом ходу, при прогреве двигателя. Звон и «бульканье» — признаки скопившейся влаги в глушителе. Увеличив обороты несколько раз, конденсат выходит и признаки неисправности пропадают.
Данные пункты являются возможными факторами влияния на звук выхлопа глушителя и считаются самыми распространёнными.
Ремонт и замена глушителя на ВАЗ 2114/2115 доступны каждому автолюбителю, вопрос заключается только в уверенности и времени. Поменять старую деталь на новую легко, имея под рукой инструменты, но устранение неисправности глушителя рекомендуется доверить профессионалам. В любой автомастерской занимаются такими видами работ. За небольшие деньги и короткий период вам сделают ремонт глушителя. Помните, профилактика — надёжный метод лечения!
Причины неисправности
Почему этот элемент выходит из строя? На то есть несколько причин. Во-первых, глушитель постоянно нагревается до высоких температур. Нагрев может достигать 350 и более градусов Цельсия. В результате краска с алюминиевым покрытием, нанесенная на заводе, попросту выгорает. Также глушитель подвергается коррозии. Расположен он в районе колесных арок, откуда постоянно идет грязь и вода. Не спасает ситуацию даже установка подкрылок. Также могут быть и внешние деформации. На крутых спусках и подъемах нужно быть аккуратным (особенно если у вас заниженная подвеска). Глушитель — самая нижняя точка в задней части кузова, которая легко подвергается ударам. Кроме этого, сами газы создают разрушительный эффект. Во время работы двигателя глушитель вибрирует. Это тоже сказывается на его ресурсе. Чтобы хоть как-то обеспечить ему свободный ход, в конструкции предусмотрены резиновые подушки.
В совокупности все эти причины вызывают прогар глушителя или осыпание его стенок. Также изнашиваются резиновые подушки, обрываются крепежные болты.
Что выбрать?
Есть несколько вариантов глушащих устройств, которые можно использовать в качестве замены старому элементу на ВАЗ 2114.
- С завода на автомобилях ВАЗ предусматривается применение алюминиевого глушителя, эксплуатационный срок которого составляет до 6 лет. Недорогое, достаточно надежное решение.
- Более дорогие вариации, выполненные из жаропрочной, нержавеющей стали. Стоят больше заводских, но отличаются надежностью и увеличенным сроком службы до 10-15 лет.
Увы, не редко замена данного устройства не дает ожидаемого результата, поскольку вместо ожидаемого высококачественного нержавеющего элемента, покупатели сталкиваются с подделками. Их выполняют от обычного черного железа низкого сорта. Срок службы подобных изделий составляет не более года.
Чтобы придать вид дорогих изделий, низкокачественные глушители покрываются специальные красками. Потому приобретать детали советуем в проверенных, сертифицированных магазинах автозапчастей.
Замена глушителя на ВАЗ 2114/2115
Выход из строя глушителя на автомобиле может случиться по разным причинам:
- механическое повреждение;
- влияние атмосферных и грязевых осадков;
- прогар внутренних элементов и стенок глушителя.
Признаки неисправности, чаще всего, проявляются в усилении звука выхлопа: автомобиль работает очень громко, тарахтит, появляется обилие выхлопных газов из-под автомобиля в области глушителя и запах не переработанного топлива.
Как поменять «глушак» своими руками
Во многих случаях ремонту глушитель не подлежит — требуется его срочная замена. Сделать это не так сложно, как кажется. Вам понадобятся:
- новый глушитель + ремкомплект (резиновые подушки, гофра, металлографитное кольцо, устанавливаемое под хомут на место соединения труб дополнительного и основного глушителей);
- инструменты;
- переносная лампа;
- смотровая яма или домкрат;
- два часа свободного времени;
- руки, растущие из правильного места.

Ремкомплект состоит из 5 резиновых подушек, двух хомутов и уплотнительных колец, прокладки
Комплектующие части для замены рекомендуется приобретать у проверенных поставщиков, так как, в противном случае, можно наткнуться на некачественную подделку.
Если всё вышеуказанное соответствует параметрам, можно приступать к демонтажу поломанного глушителя. После установки автомобиля на смотровую яму — проверить состояние крепежа и соединительных болтов хомута между трубой дополнительного глушителя и трубой главного глушителя.
Как снять глушитель
Демонтаж узла рекомендуется проводить в такой последовательности:
- Перед откручиванием гаек обработать резьбу WD-40 либо жидкостью для удаления ржавчины, подождать 10 минут.
- Используя накидной ключ или головку на 13 открутить две гайки, удерживающие хомут.
- Скинув хомут убрать уплотнительное кольцо.
- Снять резиновые подушки, удерживающие глушитель.
- Отсоединить глушитель от резонатора.
Если возникают сложности с откручиванием гаек, можно воспользоваться молотком и зубилом. Для этого нужно упереть зубило в грань гайки и резкими ударами молотка против часовой стрелки попытаться «сбить» резьбу. В ином случае следует срезать болты болгаркой.
Установка новой детали
Установка нового глушителя совершается в обратном порядке, но необходимо смазать прокладочное кольцо высокотемпературным герметиком. Это обеспечит надёжное и герметичное соединение.
Видео: как заменить поломанный «глушак» с использованием инструментов и смотровой ямы
В случае отсутствия смотровой ямы можно воспользоваться домкратом, предварительно установив упор под передние колёса.
Прямоток на ВАЗ 2114
Тюнинг возможен и на выхлопной системе. На ВАЗ 2114, также как и на других современных автомобилях любители могут устанавливать прямоточные глушители. Причем они устанавливаются в нескольких вариантах.
Прямоток на ВАЗ 2114
- Производится замена выпускного коллектора на прямоточный «паук» системы 4-2-1. При этом знающие автослесари дорабатывают коленвал машины, делая так называемый 52 вал, достигая мощности двигателя 97 — 100 л. с.
- Устанавливается спортивный резонатор прямоточного типа. У него более простая конструкция, за счет этого увеличивается скорость истечения выхлопных газов, одновременно увеличивается шумность при работе такой системы.
- Вместо выхлопной трубы на основной глушитель устанавливается прямоточный глушитель или прямоток, как его называют в автомобильных кругах, который представляет из себя трубу диаметром не менее 50 мм, внутри которой между внешней стенкой и перфорированной внутренней трубой проложена каменная вата высокой плотности. Она обеспечивает снижение шумности этого устройства.
Интерес к такого типа устройствам не только в том, что машина становится несколько необычной, глухо, по спортивному подрыкивает. Но и увеличивается мощность машины, от 7 до 12 лошадиных сил. Поскольку нагрузки агрессивной среды выхлопных газов на прямотоки в значительной степени увеличиваются, то и материал из которого они изготавливаются — это жаропрочные нержавеющие стали. Поэтому и купить прямоток на ВАЗ 2114 удовольствие не из дешевых. Цены на разные прямотоки от 2500 до 5000 рублей.
В автомобиле используется множество узлов и систем. Одна из таких — выхлопная. Многие не обращают на нее внимания. А ведь от исправности данной системы зависит не только комфорт продвижения, но и стабильность работы двигателя
В сегодняшней статье мы уделим внимание выхлопной системе автомобиля ВАЗ-2114 (глушителю в том числе)
Симптомы
Как проверить, прогорел ли у вас глушитель или нет? Сделать это очень просто. Если глушитель прогорел, вы сразу же услышите характерный шум выхлопа. Он станет более громким и неприятным. Иногда сопровождается резкими хлопками. Также в зимнее время мы можете заметить дым, идущий из-под днища авто. Эти газы могут приникать и в салон, из-за чего ехать станет некомфортно (да и просто вредно для здоровья). Еще один признак — снижение мощности двигателя. Относительно расхода топлива мнения разделяются. У одних цифра остается стабильной на прогоревшем моторе, у других возрастает на 1-2 литра. Поэтому самый основной признак — это повышенный шум выпуска отработавших газов.
Ремонт глушителя ВАЗ 2114/2115
Перед тем как менять глушитель, необходимо совершить его осмотр на наличие повреждений. В некоторых случаях можно обойтись мелким ремонтом и не тратить деньги на покупку новой детали. Восстановление работоспособности глушителя проводится по следующему алгоритму:
- Наждачной шкуркой зачищаются глушитель и сварные швы.
- Вся деталь осматривается на наличие трещин, прогаров, повреждений.
- В случае обнаружения дефекта воспользоваться сваркой полуавтоматом, проварить трещины. На места прогара можно наварить металлическую пластину толщиной не менее 1,5 миллиметров. Мелкие трещины замазать высокотемпературным герметиком.
Все рабочие области обязательно обрабатываются наждачкой для более качественного результата.
Сварка используется в случае, если металл глушителя достаточно крепок. Швы провариваются толстым слоем во избежание фона и нового прогара.


















































